超级道闸
2018-06-19 15:38:54
重型道闸门
-
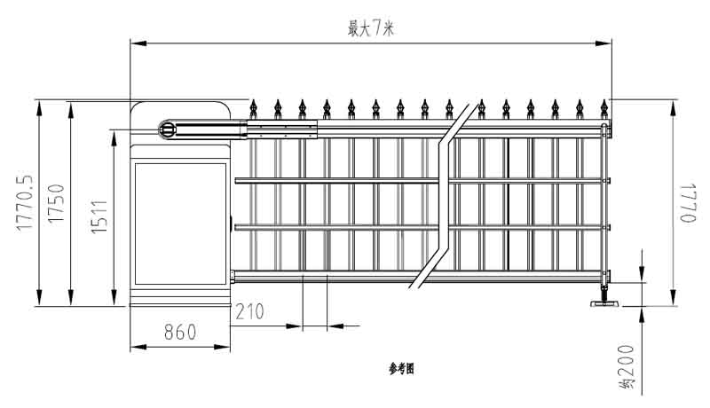
门体高达1.77米,单开最长7米,对开可达14米;
-
中置式结构,机箱采用对称设计,不分左右方向,减少库存压力;
-
采用百胜90重型机芯,一体化设计、编码器限位、二级减速装置;
-
采用变频电机+变频控制系统,软启动、软停止,运行安全、平稳;
-
内置高亮LED灯条加导光板,结合智能LED照明开关,夜间自动开启、灯光均匀透亮,广告效果出色;
-
编码器限位,精度高、调试简便,数码化显示操作控制,丰富的设置内容及简便的设置方式;
-
独特设计的防断拉簧,能承受高强度拉力,防止断裂,安全可靠;
-
门体采用2MM高强度铝合金、加强主梁设计,能有效抵御8级以下强风(内部实验测试);
-
标配高灵敏度压力波感应器,具有国际水准的防砸人、车保护措施;
-
具有丰富的功能接口,可对接“地感、红外及收费系统”。
-
工作电源:220V±10% 50/60HZ
-
工作温度:-40℃~50℃
-
电机功率:400W
-
起落速度:8S~12S
-
最大杆长(含机箱): 7m
-
门体高度:1.77 m
-
遥控距离≥30米
-


QQ在线咨询
在线咨询
扫我发现更多
